安康监护 / 体征监护报告管理
对于采用平台支持并接入平台的智能床垫的用户,平台会每日指定时间根据前一天晚上至第二天上午12点之间采集的睡眠明细数据,来生成睡眠体征报告。
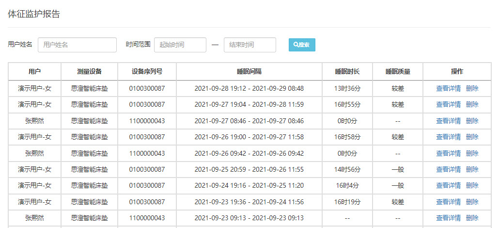
体征监护报告
机构人员通过控制台点击【安康监护】-->【体征监护报告】进入监护报告列表页:

在报告列表中展示了用户、监测的设备、监测设备的序列号、睡眠时间、睡眠时长等信息。在该页面中可以根据用户姓名以及时间范围查询指定条件的报告。
体征监护报告详情
点击体征监护报告列表中的【查看详情】操作,进入体征监护报告的详情页面,可以查看指定日期的报告详情,也可以查看最近7天、最近30天的报告情况。
下图为按天查看的体征监护报告详情:

下图为最近7天的体征监护报告情况:
